南昌一模的压轴题,有网友觉得答案好像有问题问能否分析并仿真一下。题目
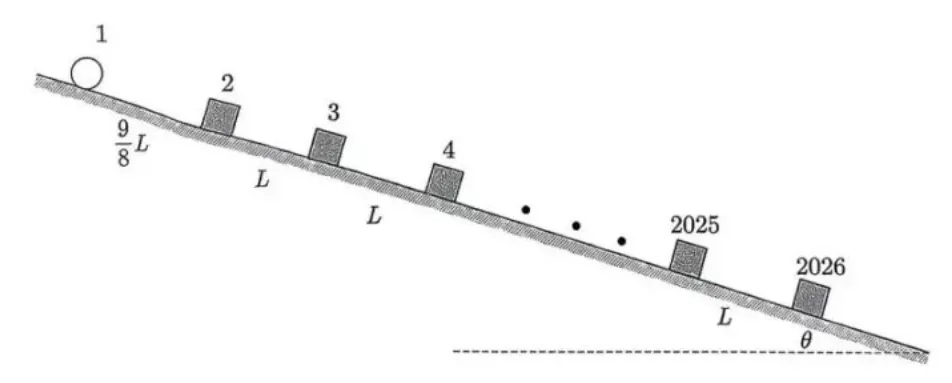
加图所示,倾角为的斜面足够长,斜面上静止着2025个完全相同的物块,物块质量均为m,相邻物块间的距离均为L,在物块上方L处有一个光滑小球,小球质量M=2m,将其从左到右依次编号,光滑小球与斜面间的摩擦忽略不计,物块与斜面间的动摩擦因数为u=。现将小球由静止释放,题中所有物体之间的碰撞均可视为弹性正碰(已知重力加速度为g,不计空气阻力,碰撞时间忽略不计,小球及物块大小忽略不计)。求:(1)1号小球与2号物块第一次碰撞后,两者的速度大小;(2)1号小球与2号物块在第一次碰撞中对2号物块所做的功及小球以后每次与2号物块碰撞前瞬间的速度表达式大小;(3)若1号小球与2号物块第一次碰撞后,小球与2号物块距离最远时,对小球施加一方向平行斜面向上,大小F=mg的恒力,求最终小球和2026号物块间的距离及与第n号物块间的距离表达式。
解析


分析
疑问主要是第三问,解析中说的是速度大小相等时小球和第一个物块距离最大,有人觉得小球和物块速度不会相等因为还没到相等物块就要与下一个物块发生碰撞了,因此物块与下一个物块发生碰撞时就是相距最远的点。
经过我反复看了一下解析,它本身是没有问题的,因为网友认为的最远的那个点并不是二者相距最远的那个点,真正相距最远的点是等所有物块都动起来了,物块不会与下一个物块相碰了,小球就可以与下一个物块共速了。不过解析答案没有写完最后的速度没有代进去。
仿真
这题目的答案解析过程已经非常详细了,就不做过多分析了特别繁琐,不过可以做一个模型仿真一下,解答一下网友的疑惑。搭建一个如下图所示的模型,并根据题中意思设置相关参数:运行后,导出小球和第一个物块的速度时间图像如下,网友的意思是下图中红色圆圈这个时刻是两者的最大距离:这个模型需要2026个物体,仿真的话肯定不能搞这么多,这里我就用三个物块代替,当小球和物块相距最远时给小球添加一个沿斜面向上的力。可以看到最后添加力之后大家都保持相对静止的运动了。导出二者的速度时间图像如下:从图中可知,二者相距最远时是图中小红圈的位置。梳理清楚了这个过程我们再去看那个解析过程就能明白了。