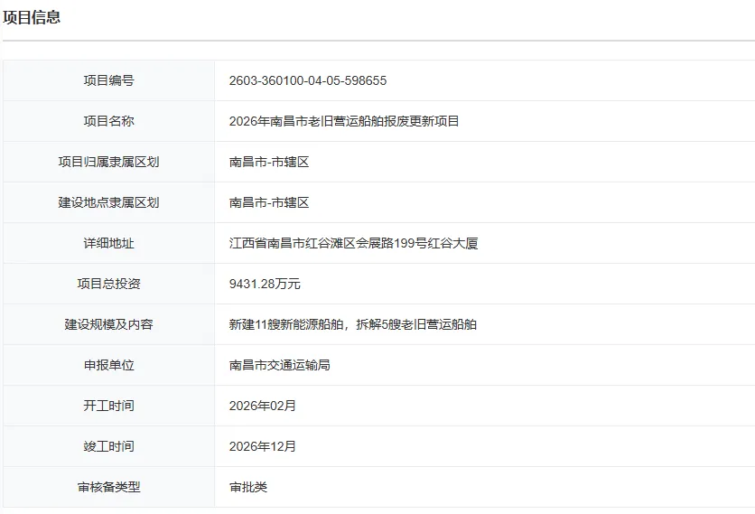
今天(2026年3月2日),江西省项目投资公示平台发布了,南昌市交通运输局2026 年老旧营运船舶报废更新项目的备案信息,总投资达 9431.28 万元,计划在今年内新建 11 艘新能源船舶,同时拆解 5 艘老旧营运船舶。

根据项目备案信息,2026 年南昌市老旧营运船舶报废更新项目将于今年 2 月开工,12 月竣工。项目的核心内容是 “拆旧建新”:
- 拆解 5 艘老旧营运船舶:淘汰高耗能、高污染的老旧运力,从源头减少水域污染。
- 新建 11 艘新能源船舶:引入清洁能源动力,优化水运运力结构,助力构建绿色低碳的交通运输体系。
这一举措并非孤立。南昌市交通运输局此前已明确,2025-2026 年计划建造新能源货船 31 艘,而今年的 11 艘正是这一宏大计划的重要组成部分。通过 “三查三核三取证” 的严格监管,南昌正科学淘汰老旧船舶,激活水运新动能,为打造长江经济带绿色水运示范城市提供有力支撑。
如果说 11 艘新船是南昌航运的 “新血液”,那么今年计划实施的 100 个涉水项目,则是为整个城市的水网 “强筋健骨”。
在重大工程建设上,南昌正全力冲刺:
- 赣抚尾闾综合整治工程:作为江西史上投资最多、规模最大的单体水利工程(总投资 170.6 亿元),将于今年年底前全面完工。工程竣工后,赣江枯水期通航能力将从 1000 吨级跃升至 3000-5000 吨级,彻底改写南昌枯水期取水困难的历史,让 “黄金水道” 重现繁荣。
- 吊钟水库项目:也将在今年内全面完工,为城市防洪和供水安全再添一道防线。
此外,汛前赣江岸线水毁修复、黄湖和方洲斜塘蓄滞洪区建设、中小型水库除险加固等项目也在同步推进,共同构建起南昌水旱灾害防御的坚固底线。

有了新船,还需要能造新船的 “摇篮”。今年 1 月,总投资 10 亿元的南昌市联圩船舶修造迁建项目在新建区正式破土动工。
这个项目意义非凡,它标志着南昌彻底告别了辖区内无专业船厂的历史。项目占地 426.3 亩,占用赣江港口岸线 700 米,将建设从 3000 吨级到 10000 吨级的多座船台,并配备智能下料、船体拼装等现代化车间。达产后,它将具备 1 万吨级船舶的建造能力(实际可扩至 3-5 万吨),并打造成为江西省首家新能源船舶制造基地,为南昌乃至全省的水运绿色升级提供坚实的产业支撑。
站在 2026 年的节点回望,南昌的航运雄心早已超越了一城一池。
- 赣抚尾闾工程的竣工,将让 3000 吨级船舶常年畅行赣江,丰城、樟树等码头的货物可直达南昌,大幅降低物流成本。
- 而更宏大的愿景,则是那条规划投资高达 3200 亿元的浙赣大运河。目前,该项目正处于紧锣密鼓的前期研究论证阶段,一旦建成,将彻底打通江西连接长三角与粤港澳大湾区的水运大动脉,让南昌从内河港口升级为通江达海的枢纽城市。
从今年11艘新能源船舶的启航,到联圩船厂的奠基,再到赣抚尾闾工程的收官,南昌正以坚实的步伐,一步步将 “水都” 的蓝图变为现实。这座依水而生、因水而兴的英雄城,正重新定义自己在全国水运格局中的坐标。